forge pressure-sealed gate valve 900lb~1500LB
Edit Date: 2016/1/7 View:
- Brand: feiqiu
- Standards: API 602、ASME B16.34、BS 5352
- Class: 900lb~1500LB
- Size: 1/2"-2"
- Material: A105, F11, F304,F316 etc.
- Medium: WOG
Introduction
forge pressure-sealed gate valve 900lb~1500LB Outside Screw and Yoke,Rising Stem,Non-Rising Handwheel,Integral Backseat, Solid Wedge,Renewable Seat Rings,
Sprial Wound Gasket, Reduced Bore or Full Port,
Socket Welded,Threaded,Butt Welded,Flanged End.
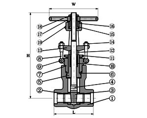
Standard Material Specification
| NO. | Part Name | CS to ASTM | AS to ASTM | SS to ASTM | |
| A105 | F22 | F304(L) | F316(L) | ||
| 1 | Body | A105 | A182F22 | A182F304(L) | A182F316(L) |
| 2 | seat | A276420 | A276304 | A276304(L) | A276316(L) |
| 3 | Wedge | A182F430&410 | A182F304 | A182F304(L) | A182F316(L) |
| 4 | Stem | A182F6 | A182F304 | A182F304(L) | A182F316(L) |
| 5 | Pressure Seat | A105 | A182F304 | A182F304(L) | F316(L) |
| 6 | Pressure Ring | A216 304L | A276316L | ||
| 7 | Bonnet | A105 | A182F22 | A182F304(L) | A182F316(L) |
| 8 | Gland Eyebold | A193B7 | A193B16 | A193B8(M) | |
| 9 | Pin | A276F420 | A182F304(L) | ||
| 10 | Stem Packing | Flexible Graphite | PTFE | ||
| 11 | P.S.Lock Nut | A1942H | A1944 | A1948 | A1948M |
| 12 | Gland | A276F420 | A182F304 | ||
| 13 | Gland Flange | A216WCB | A182F304 | ||
| 14 | Nut | A1942H | A1944 | A1948 | A1948M |
| 15 | Yoke Nut | A276-410 | |||
| 16 | Retainin nut | A1942H | A1944 | A1948 | A1948M |
| 17 | Handwheel | A197 | |||
| 18 | H.W.Lock Nut | A1942H | A1944 | A1948 | A1948M |
| 19 | oil Cup | Brass | |||
| Suitable Medium | W.O.G.etc | W.O.G.etc | HNO 3 ,CH 3 OOH etc | ||
| Suitable Temperature | -29℃~425℃ | -29℃~550℃ | -29℃~200℃ | ||
Note:Other materials aer available upon request.
CS=Carbon Steel;AS=Alloy Steel;SS=Stainless Steel;
Dimension (mm) and Weight (Kg)
| NPS | 1/2" | 3/4" | 1" | 11/4" | 11/2" | 2" | |
| L | 900Lb-150Lb | 140 | 140 | 140 | 178 | 178 | 216 |
| 2500Lb | 186 | 186 | 186 | 232 | 232 | 279 | |
| H(open) | 321 | 321 | 321 | 380 | 414 | 502 | |
| W | 160 | 160 | 180 | 200 | 250 | 280 | |
| Weight | 900LB-1500LB | 11.5 | 10.8 | 10.5 | 19.6 | 21.0 | 55.4 |
| 2500LB | 12.3 | 11.6 | 10.8 | 26.0 | 28.4 | 60.0 | |
More Products




